土壤修復是指利用物理、化學和生物的方法轉移、吸收、降解和轉化土壤中的污染 物,使其濃度降低到可接受水平,或將有毒有害的污染物轉化為無害的物質,使遭受污染的 土壤恢復正常功能的技術措施,在土壤修復行業,已有的土壤修復技術達到一百多種,常用 技術也有十多種,大致可分為物理、化學和生物三種方法。
目前我國土壤修復技術長期停留在實驗室水平,較缺乏經濟有效的土壤修復產品 及相關經驗,同時現有的技術設備,一般結構比較復雜,使用時過于繁瑣,土壤修復的效果 比較一般,對于有害物的處理不夠徹底。

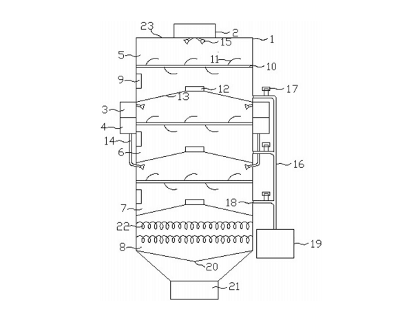
土壤修復的化學土壤淋洗罐,包括罐體、及設置在所述罐體頂端的水箱和出料口,所述罐體的頂部設置有進料口;該種用于土壤修復的化學土壤淋洗罐,整個過程簡單,清理徹底;同時設置了熱分解室,通過熱解吸修復技術,以加熱方式將受有機物污染的土壤加熱至有機物沸點以上,使吸附土壤中的有機物揮發成氣態后再進行徹底的分離處理;最后在罐體的外側連接了廢水管和廢水箱,實現對有害廢棄液體的妥善處理;整個裝置結構簡單,使用方便,有效的填補了土壤修復技術的設備空缺,并提供了一種高效率的土壤修復設備,有效的保證的土壤修復的效果,對環保做出重要貢獻。
鄭州市長椿路11號國家大學科技園孵化1號樓513
電話:0371-61772378
郵箱:desenhuanjing@163.com
微信公眾號
德森環境抖音號 30年
裝備制造經驗
為用戶提供及時、高效、便捷的服務